Фото: waynewilsonography.com
Термин «эргономика» произошёл от двух греческих слов: ergon — «работа» и nomoi — законы природы. Специалисты по эргономике или эргономисты изучают возможности человека в отношении рабочих требований. Сегодня это слово используется для описания науки «создания работы, которая подходит работнику, а не принуждения работника соответствовать работе». Эргономика охватывает все аспекты работы, считает ведущий блога Best in Packaging Антон Стиман (Anton Steeman). Начиная с физического напряжения в области суставов, мускулов, нервов, связок, костей и т.д., и заканчивая факторами окружающей среды, которые могут влиять на слух, зрение и общее состояние комфорта и здоровья.
И хотя многие уверены, что эргономика относится исключительно к рабочему месту, Стиман решил растянуть это понятие на структурный дизайн упаковки. Слишком натянуто? Вряд ли. В одном из популярных словарей определение эргономики звучит так: «Прикладная наука дизайна оборудования для рабочего места, призванная максимизировать производительность путём снижения усталости и дискомфорта человека». Если это определение слегка расширить, то получим: «Эргономика — это прикладная наука структурного дизайна упаковки, призванная максимизировать эффективность и удобство потребителя, снизив его дискомфорт и недовольство».
Антон Стиман решил рассмотреть эргономику в рамках структурного дизайна бутылок. Когда потребитель смотрит на бутылки с напитками, особенно на большие бутылки с безалкогольными напитками и фруктовыми соками, он понимает, что большая их часть сделана не так, чтобы любой потребитель смог с легкостью с ними обращаться.

Фото: couponingtodisney.com
Рассмотрим два примера: бутылка Coca Cola и Pepsi Cola. Уменьшая толщину пластика, производители смогли добиться того, что с двухлитровыми бутылками стало сложнее обращаться. Если снять крышку, давление в бутылке уменьшается, и её стенки начинают вести себя как гибкая упаковка. Размер бутылок слишком велик, чтобы управляться с ними одной рукой. Из-за слабых стенок бутылки, ситуация осложняется ещё больше — потребителю приходится сжимать стенки почти до упора, чтобы надёжно ухватить бутылку. В результате таких действий жидкость часто проливается через горлышко. Очевидно, что ни в компании Coca Cola, ни в компании Pepsi Cola, ни во многих других компаниях не подумали о том, что обращение с открытой бутылкой также является частью структурного дизайна.
Известно, что основным недостатком пластиковых бутылок для напитков является их склонность к смятию, когда держишь их одной рукой. Этот феномен наиболее заметен в бутылках с тонкими стенками. Именно это и вызывает проблему. В погоне за сохранностью экологии, не предвидя эргономических последствий, всё больше производителей увлекаются тенденцией сокращать вес бутылок, а, следовательно, и количество материала для их производства. Многие компании восхищаются своими достижениями и сообщают о выпуске «самой лёгкой бутылки в мире».
Фото: bestinpackaging.com
Когда бутылки закрыты, и в них находится негазированный напиток, риск смятия, если она находится в одной руке, почти равен нулю. Действительно, в данном случае присутствие укупорочного средства предотвращает изменение внутреннего объёма при поднятии бутылки одной рукой. Закрытые бутылки с газированным напитком при поднятии одной рукой вообще не могут деформироваться. В данном случае давление внутри бутылки оказывает воздействие на внутреннюю поверхность стенок, что препятствует изменению внутреннего давления. Между тем, при удалении укупорки, риск смятия бутылки увеличивается в несколько раз. Всё потому, что часть давления углекислого газа высвобождается через горлышко бутылки, и она теряет свою жёсткость.
Этот недостаток удалось частично исправить с помощью пластиковых бутылок с укрепляющими рёбрами по всей окружности их корпуса. Тем не менее, это решение убедительно лишь с механической точки зрения, но не с позиции эргономики. Другими словами, эти рёбра жесткости не добавляют удобства в обращении с бутылкой. Более того, когда рёбра используются для предотвращения деформации от воздействия внутреннего давления в закрытом состоянии бутылки, они обычно недостаточно жёсткие для предотвращения смятия. В итоге потребитель оказывается с бутылкой, которую он едва ли может удерживать одной рукой, разбрызгивая при этом её содержимое.
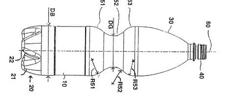
К счастью, на рынке существует несколько удачных форматов бутылок, которые добавляют удобства потребителю. Хотя часто даже они разрабатывались лишь с учётом механических характеристик, а не эргономики. Одним из лучших примеров можно считать пластиковую бутылку, разработанную и запатентованную компанией Sidel в 2004 году. Это бутылка с так называемой «женственной талией». Из патента на эту бутылку мы узнаём, что она обладает корпусом, цилиндрическим между основанием и плечиками, который оснащается усиливающими кольцами из желобков по всей окружности: нижняя часть, центральная часть и верхняя часть. Каждая из этих частей обладает периферийным профилем постоянного изгиба.

Фото: bestinpackaging.com
В то время как центральная часть оснащена периферийным профилем с полостью, направленной к внешней поверхности бутылки, верхняя и центральная часть имеют полости, повернутые к внутренней поверхности бутылки. Именно подобное сочетание обеспечивает эффективную защиту от смятия во время открытия бутылки. Помимо этого, такая конструкция предотвращает деформацию колец жёсткости при воздействии внутреннего давления.
Как уже упоминалось, это один из лучших примеров эргономичных пластиковых бутылок для газированных напитков, по мнению Стимана. В следующей части своей статьи он обещает рассказать о других, не таких удачных, но от этого не менее интересных вариантах эргономичных бутылок.


Comments (0)
Twitter
Facebook
Pinterest
E-mail